Esoteric這幾年擴大機越做越好,無論技術含金量還是音質表現,已經不亞於自家的數位訊源產品了。就在2023年年底,Esoteric一口氣推出兩款高階的綜合擴大機F-01、F-02。

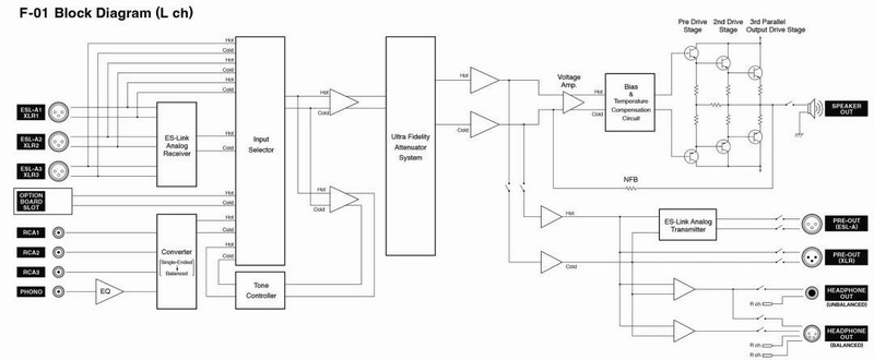
跟過去的F系列相比,這次升級在於前級的進化。F-01使用了Grandioso C1X的許多新技術,所以在功能和音質方面都得到了大幅度的提升,這款前級采用了分體式前級才有的大規模全平衡雙單聲道架構,同時有3組ES-LINK Analog輸入作為標準配備,可以透過電流傳輸接駁ESOTERIC K/N系列數位播放器,享受宛如在錄音室中監聽類比訊源時,那種充滿臨場感的聲音。此外,在音量控制上還配備了獨家的「Ultra Fidelity Attenuator System」,并特別強化電源。其他像是內建全平衡耳機擴大機、三頻段音調控制器(3-Band Tone Control)等,都讓前級所需的功能更加完備。

如果將F-01透過ES-LINK Analog前級輸出接駁S-05后級的話,就可以組成電流傳輸的高品質多擴大機系統;如果還想要更進一步追求高音質的話,還能選購前級專用的外接強化電源組。這種與綜合擴大機概念背道而馳的獨特設計,說明了F-01的高度延伸性,內部的全平衡雙單聲道前級放大器也證明了這樣的設計在品質上是毫無妥協的。

在前級的設計中,音訊的振幅與主動衰減器的電源電壓成比例。也就是說,電源電壓較低的系統無法獲得足夠的音訊振幅,而限制了動態范圍,因此無益於S/N比。作為前級核心的衰減器電路采用了Grandioso C1X使用的「Ultra Fidelity Attenuator System」。這套ESOTERIC的獨家系統,因為采用高電源電壓的設計,所以具有優異的動態范圍和S/N比,充分發揮ESOTERIC前級純凈又具有動態的優點。同時,采用固定電阻切換式,讓音量可以進行如絲般細膩順滑的0.1dB/1,120階(約一般前級的10倍以上)調整。

左右完全獨立的前級放大輸入電路板(左、中央)、前級放大電路板(右)
作為系統核心的固定電阻切換式衰減器模組「UFA-1792」,是ESOTERIC使用先進的現代工藝技術所開發的原創模組。為了實現0.1dB的驚人級進,模組里頭使用了經過嚴格品管的無數電阻,從材料、電路設計到配置,全都經過精挑細選,同時針對模組內部的電路區塊將電源和接地的訊號路徑分離獨立,實現高性能和高音質,堪稱現代前級模組設計的里程碑。

Esoteric 開發的切換式衰減器模組“UFA-1792”
決定前級品質的強大電源部分
繼承Grandioso C1X的設計理念,在電源部分將電源變壓器的卷線和電源整流的電路板獨立為前級專用,進而提高聲音的純凈度和驅動力。另外,也將聲音電路的整流電路從邏輯控制部分獨立出來,預防噪訊混入。至於整流電路,則是將Grandioso的獨家訂製電容進行并聯,於是在多數電容的情況下,可以進行時間差的電流充/放,進而提供前級穩定又純凈的電源。此外,F-01雖然是綜合擴大機,裡頭內建的前級放大器卻還是能外接專用的強化電源組PS-01F(預定日后上市),所以能讓用家享受到接近前級Grandioso C1X那采用電源分離的聲音品質。
獨家的電流傳輸方式「ES-LINK Analog」
「ES-LINK Analog」排除了線材阻抗的影響,藉此維持了訊號傳輸時重要的聲音傳真性和新鮮度,是獨家的電流傳輸方式。3系統的XLR輸入因為可以在ES-LINK Analog和一般XLR之間進行切換,所以前級輸出也是配有ES-LINK Analog和2系統的XLR,讓ES-LINK Analog可以接駁到末端的后級。

ES-LINK Analog是ESOTERIC獨家的電流傳輸方式,只要將支持的器材以此方式連接,就能像在錄音室裡用類比混音機重播一樣,重現滿滿的臨場感,聲音不但充滿力量,還兼具優異的深度和臨場感。
音響器材一般都是采用「電壓傳輸」,依據電壓的強弱來傳遞音樂訊號。相對於此,ES-LINK Analog則是采用「電流傳輸」,依據電流的強弱來傳遞訊號。就算是微小的訊號,電流傳輸也能正確傳輸,因為有這樣的優點,所以測量儀器大多是用這種方式。

在一般的電壓傳輸中,會讓輸出器材端的輸出阻抗偏低,將傳輸時的必需電流值壓低。而且根據傳輸線的阻抗,電壓也會以歐姆定律(電壓=電流×阻抗)所計算的分量衰減后被接收。
反之,電流傳輸時,輸出器材的輸出阻抗較高,傳送時的電流值會比較大(大約是電壓傳輸的100倍),就像是用軟管送水到水桶的情況一樣,就算傳輸路徑(=軟管)變長,電流值(=水量)也不會減少,因此,可以毫無保留地將音樂能量強力傳送出去。
Ultra–Low-Noise Logic Control
負責掌管操作與顯示的邏輯控制部分,獨立於放大模組之外的面板區塊。在接駁前級放大器的部分使用光電藕合元件,透過光的轉換來傳輸控制訊號,以此澈底斷絕物理上和電力上的連結。而且在停止操作的時候,CPU會完全停止運作,阻斷對處理音響訊號的電路影響,以此獲得低噪訊的運作。另外,當系統電源關閉時,音量會自動歸零,等開機后又會自動回到原本的音量設定,所以開關電源時不必另外調整音量。此外,在切換輸入時,為了讓操作具有高級感,也讓使用過程充滿愉悅,音樂訊號會淡出/淡入,散發優雅。

使用FET元件進行無損的輸入切換
輸入的切換從過去的機械式改為以FET元件為基礎的開關,避免音色受到過去機械式在接點上因為稀有金屬而帶來的影響和運作聲響,排除長年使用的音質劣化,以此獲得前級所追求的音色,具有無限的透明度和純凈度。
全平衡雙單聲道耳機放大器
從過去的F系列到現在,經過大幅度進化的就是耳機放大器。為了回應新的聆聽風格讓他們也能具備出色的重播品質,ESOTERIC集結了前級設計的技術和知識,以打造出耳機放大器。電路設計繼承了Line Stage前級的全平衡雙單聲道設計,提供平衡輸出(4pin XLR)和非平衡輸出(6.3mm)兩種系統。在平衡輸出時,可以提供600mW(32Ω負載)的功率,輕松驅動高阻抗耳機。耳機增益也能切換(0 〜+18dB/3dB階),讓搭配的耳機能有適合的音量設定。
雙單聲道唱頭放大器
在類比播放方面,F-01也有相應的高品質。內建L/R獨立的雙單聲道唱頭放大器(MM/MC),就連電源部分也是左右獨立,堅持高音質。
三頻段(高音/中音/低音)音調控制器
講究作為Hi-End機種的品質,采用全平衡雙單聲道電路架構。就算調整音質也不必擔心音質會劣化。音調控制可以針對每個輸入訊源進行預先設定。為了搭配頻率范圍更加寬廣的Hi-End喇叭,高音和低音的調整頻率可以來到比一般更高∕更低的頻率范圍(14kHz/63Hz),所以可以進行無損音訊本來音色的細微調整,精密控制可以達到±12dB的0.5dB級進。當中音頻段(630Hz)調整為負時,音調通常會設定為Bypass,如果在晚上打開,就可以作為響度的預設使用。
高精度滾珠軸承式控制旋鈕
音量旋鈕和輸入切換鈕都采用跟Grandioso相同的滾珠軸承機構。用家可以享受到穩定、流暢又充滿類比手感的操作。音量和切換的大型旋鈕象徵著綜合擴大機的強大驅動能力,不惜成本使用鋁塊車削而成,表面具有纖細的機械加工質感,賦予設計美麗的妝點,提昇高級感。其中音量控制旋鈕也是靜音開關,而輸入切換鈕同樣也是電源開關,讓面板上的按鈕減少,追求簡美。

隨著旗艦后級Grandioso M1X和S1X的誕生,讓ESOTERIC的擴大機設計平臺全面改頭換面。具有透明感和細膩度的M1X是一款聲音具備規模又充滿動態感的單聲道后級,而S1X則是一款A類的立體聲后級。這兩款后級征服了全球的發燒音響迷,也成為Hi-End擴大機的新標桿。
F-01后級直接繼承了S1X的電路設計理念,采用30 W/8Ω的A類設計,以后級來說,電源電路的規模是決定性能的重要關鍵。F-01從電源整流平滑電路開始,全段都是采用雙單聲道架構,采用了940VA的大容量EI電源變壓器,足以跟分體式后級媲美。另外,還有為了具有豐富泛音的重播而采用簡單又直接的電路設計,以及藉由降低內部阻抗來自在控制喇叭等,以S1X所孕育的尖端工程學為基礎,在細節中體現「減法美學」。目標是讓器材在驅動能力和音質上都具有不輸給分體式后級擴大機的品質。

媲美分體式擴大機的強大電源部分
對於經常需要提供大電流的后級來說,電源部分是實現豐富音場的重要元件。F-01的獨特電源部設計得益於ESOTERIC得天獨厚的資源,讓音樂表現能力擁有動態。
裸裝的大型電源變壓器
采用了可安裝情況下大容量的EI電源變壓器。因為使用容量遠大於產品本身性能所需的電源變壓器,所以能夠高度應對變動的電流供應變化,產生充滿動態和開放感的傲人聲音。抑制變壓器的振動就表示抑制電流的流動,因此,刻意不封盒改以裸裝固定。

單聲道架構的電源整流平滑電路
除非是單聲道音源,否則音樂訊號左右均不同,所以電源整流平滑電路也跟一般左右共用不同,而是采用了左右獨立的雙單聲道架構,以避免相互干擾,實現清晰的聲道分離度和解析度。
使用多個并聯的隔離電容
在整流方式上也精益求精,隔離電容采用Grandioso等級的高音質訂制電容。每聲道采用10,000μF×4顆的雙單聲道并聯架構。透過時間差并聯運作,讓充放穩定,確保所需的大電流供應量。
Less Is More
以F-01來說,連接前級到后級的訊號路徑采用短距離,功率放大電路也簡單得讓人驚訝,采用雙極性電晶體構成3組并聯推挽。
相位補償電路采用了單端架構,讓段成為無線圈設計,保持小限度的NFB(負回授),以提升音樂的躍動感。這種簡約的電路哲學對音樂來說是重要的,能夠完整而豐富地將那些容易遺失的泛音描繪出來。
功率放大器容易發熱,所以維持內部溫度的穩定非常重要。因此,ESOTERIC對溫度補償電路的位置和電路進行了處理,讓功率模組整體維持穩定的溫度,也加快穩定通電后的待機電流,令功率元件能運作,從而提升音質。

音質的關鍵在於電路板的路徑采用了105μm厚的銅箔。并在驅動級的8個匯流排上,奢侈采用了1.0mm厚的高純度OFC材料。
為了消除從供電到電源部、驅動級等重要接線的連接器損耗,而使用粗線材以螺栓連接。然后在喇叭輸出部分采用了沒有機械接點的MOS FET開關。為了降低了內部阻抗,而在細節上進行了澈底的設計。結果就算口徑較大的低音喇叭,也能強勁地抓緊驅動,輕鬆達到低頻。

Mechanical Perfection
為了實現「重現母帶之聲」的設計目標,F-01的機箱對影響音質的任何振動都進行了控制。就像跑車一樣,在機械工程的剛柔之間取得平衡?傊亓窟_到32公斤的重量級的機箱,在單機的擴大機中算是特例,也體現了充實度和完成度。機箱大量采用鋁塊以維持必要的剛性,澈底消除振動,同時,為了取得具有開放感的聲音,也采用半懸浮的頂板結構來釋放振動,并透過ESOTERIC取得專利的整組獨家抑振腳釘和腳座來減低機械應力,提高音質。另外,功率放大模組的大型散熱片,更采用了分散峰值和共振的波浪狀來抑制共鳴。


支援系統升級
F系列媲美分體式等級的完成度讓它擁有跳脫綜合擴大機框架的各種升級可能。
像是可以經由2組前級輸出系統(XLR/ES-LINK Analog)接駁S-05后級,利用內建的功率放大器來打造多擴大機系統;蚴墙玉g選購的外接強化電源來進一步提昇前級的品質。
另外,還配備一個插槽,可以增加選配模組,像是F系列過去使用的2款(兼容DSD的D/A轉換器模組OP-DAC1和ES-LINK Analog輸入模組OP-ESLA1)。

額定輸出功率:30W + 30W(8Ω,A 類)
電源供應 :220V/50Hz
消耗功率 :250W
外形尺寸(寬×高×深) 445×191×471mm(包含端子)
重量:32.2Kg
|